Qingdao Xinguangzheng Steel Structure Co., Ltd
الإخبارية
مسكن / أخبار / الإخبارية / أجزاء مضمنة مختلفة في بناء الصلب

أجزاء مضمنة مختلفة في بناء الصلب

تصفح الكمية:0     الكاتب:محرر الموقع     نشر الوقت: 2024-03-16      المنشأ:محرر الموقع

رسالتك

facebook sharing button
twitter sharing button
line sharing button
wechat sharing button
linkedin sharing button
pinterest sharing button
whatsapp sharing button
sharethis sharing button

في تصميم وبناء الأجزاء المدمجة ، غالبًا ما يتم تطبيق الأنواع التالية: شريط مرساة مضمن, الترباس مرساة مضمن و الترباس الكيميائي. إذن ، ما هي خلافاتهم؟

يجب أن تكون قضبان المرساة المضمنة HRB400 أو HPB300 التعزيز. يجب أن تكون قضبان المرساة المستقيمة ولوحة المرساة ملحومة في شكل t. يجب استخدام لحام القوس المغمورة بالضغط عندما لا يزيد قطر شريط المرساة عن 20 مم ، ويجب استخدام لحام المكونات المثقبة عندما يكون قطر شريط المرساة أكبر من 20 مم.

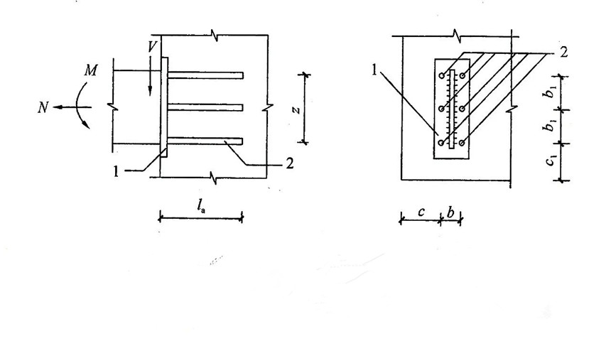
1. مرساة قضيب

قطر المستقيم المجهد قضبان المرساة من الأجزاء المدمجة لا ينبغي أن يكون أقل من 8 مم ، ويجب ألا يكون أكبر من 25 مم. يجب ألا يقل عدد قضبان المرساة المستقيمة عن 4 ، ولا ينبغي أن يكون أكثر من 4 صفوف. يتم تحديد طول مرساة شريط المرساة المستقيمة ، ويجب ألا يقل طول مرساة القص وشريط المرساة المستقيمة المضغوطة من 15D ، D هو قطر شريط المرساة.

عندما يستخدم شريط المرساة تعزيز درجة HPB300 ، يجب أن يكون النهاية أيضًا خطافًا منحنيًا.


2. شريط مضمن

يجب استخدام Q235B أو Q355B ، ولا يقل القطر عن 20 مم. يجب إعداد مرساة الترباس مع خطاف منحني ، أو لوحة مرساة ، أو شعاع المرساة ، ويجب ألا يقل طول مرسىها عن 25D.

4. الأساس الترباس

ال مرساة الترباس لا ينبغي استخدامها لتحمل قوة التفاعل الأفقي في أسفل العمود. يتم نقل قوة التفاعل الأفقية هذه أولاً إلى الأساس الخرساني من خلال قوة الاحتكاك بين لوحة قدم العمود وسطح الخرسانة ؛ عندما تكون القوة الأفقية في أسفل العمود أكبر من قوة الاحتكاك ، يجب ضبط روابط القص على مقاومة القص.

بعد التثبيت والتصحيح ، يجب أن تكون لوحة وسادة المرساة (السُمك 0.5 ~ 0.7 مرة من سماكة اللوحة السفلية) ويجب ملحومة اللوحة السفلية بحزم. يجب تثبيت البراغي بالمكسرات المزدوجة ، ويجب اللحام المكسرات ووسادات الترباس بقعة.

درجة الترباس الكيميائية عمومًا 4.8 (معيار السوق) ، 5.8 (المعيار الوطني) ، 8.8 (قوة عالية) ، تتكون من المسمار ، الجوز ، الحشية والأنابيب الكيميائية.

الأنبوب الكيميائي من الترباس المرساة الكيميائية يتكون من راتنج الفينيل ، وجزيئات الرمل الكوارتز وعامل المعالجة. من خلال الترابط الملاذ من الراتنج الاصطناعي ، يشكل المسمار الالتصاق بين المسمار وجدار الفتحة ، ويشكل كله مع الكائن الربط ، وذلك لتحقيق دور إصلاح العضو وتحسين القدرة على المكون.


7. الترباس الكيميائي


قضيب مرساة مضمن

مرساة الترباس

الترباس الكيميائي

الصف الصلب

HRB400

Q355b

5.8s

قطر (مم)

24

24

24

المنطقة (MM2)

452.2

452.2

452.2

القسم الفعال (MM2)

452.2

352.5

352.5

T Ensile Ultimate Just (N/MM2)

540

470

500

T Ensile Livel Pround (N/MM2)

400

355

400

T قيمة تصميم القوة (N/MM2)

300

180

240

قيمة تصميم القدرة المضادة للترجمة (KN)

81.4

63.5

84.6



رقم 268، طريق سانشنغ، بينجدو، تشينغداو، شاندونغ، الصين
موبايل / WeChat / WhatsApp:
86-158-5320-9069+ / 86-178-0625-1013+
معلومات عنا
\"العاطفة، التطبيق العملي، الامتنان، والتجاوز " هي روح الشركات لدينا.

عام

الشخصية

روابط الشركة
فئات المنتجات
مشروعنا
Copyrights © 2021 Qingdao Xinguangzheng Steel Structure Co., Ltd. All Rights Reserved  Technology by leadong